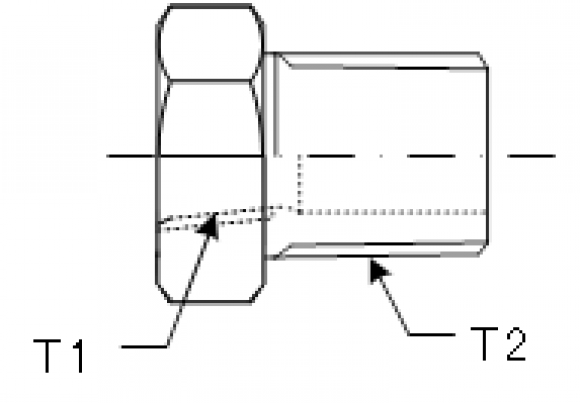
- ブッシング (二段落以上)③
 

| 番号 | 登録品番 | T1 | T2 | 
|---|---|---|---|
| 21 | 25-40-B | Rc1" | R1"1/2 | 
| 22* | 25-50-B | Rc1" | R2" | 
| 23* | 25-65-B | Rc1" | R2"1/2 | 
| 24 | 32-50-B | Rc1"1/4 | R2" | 
| 25* | 32-65-B | Rc1"1/4 | R2"1/2 | 
| 26* | 50-75-B | Rc2" | R3" | 
Rc x R
25A ~ 50A
<備考>
高圧用ブッシング  メッキなし
メスPT(小)×オスPT(大)
オスPTネジを二段以上UPする管継手です。
メスPTネジを二段以上DOWNする管継手です。
(*)取寄せ品となります。